La Potencia
La potencia es la cantidad de trabajo (trabajo = fuerza x desplazamiento) emitido en un segundo. En la Hidráulica, la potencia se mide en kilovatios.
-
Cuál es la potencia consumida por la bomba?
La potencia depende del caudal (Fig. 22).
Motor 1 < Motor 2
Bomba 1 < Bomba 2
Caudal 1 < Caudal 2
Presión 1 = Presión 2
La potencia depende del presión (Fig. 23).
Motor 1 < Motor 2
Bomba 1 = Bomba 2
Caudal 1 < Caudal 2
Presión 1 < Presión 2
Potencia 1 < Potencia 2
Aplicación
-
Cuál es la potencia hidráulica necesaria para obtener el movimiento siguiente? (Fig. 24)
Cilindro doble efecto diámetro 100
Presión = 180 bar
Carrera = 800 mm
Tiempo = 8 segundos
| Potencia (kilovatios) = Caudal (l/min) x presión (bar) / 600 |
Por ejemplo: Caudal 47,1 l/min - Presión: 180 bar.
Potencia hidráulica para desplazamiento del cilindro: (P: Potencia)
P (kW) = (47,1 x 180) / 600 = 14,13 kW
La potencia del motor térmico a instalar deberá ser igual a la potencia necesaria para el desplazamiento de cilindro + 20% para tener en cuenta el rendimiento global de la trasmisión.

Potencia motor = Potencia hidráulica + 20%
Potencia hidráulica = caudal x presión
| Potencia a instalar (kW) = Caudal (l/min) x Presión (bar) / 480* |
Y los "horse power" ?
Potencia (kW) x 1,358** = Potencia en caballos
** Kilovatios (1 kW = 1000 watts) / caballos (1 ch = 736 watts) > 1000 / 736 = 1,358 Que precisión!
Calculemos la potencia en caballos (ch)
Potencia (ch) = Presión (bar) x Caudal (l/min) / 442 (442 = 600 / 1,358)
No debe olvidar de añadir el 20% de más para la potencia del motor térmico.
-
Repasemos
Para equilibrar la potencia hidráulica con la potencia mecánica, hay que tener en cuenta las pérdidas.
Las pérdidas: Son todas las fricciones (Fig. 26).
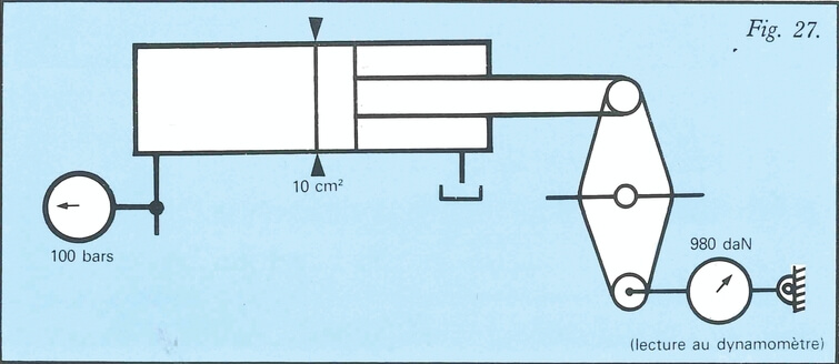
Fricciones (rendimiento mecánico): Rm (Fig. 27).
Fugas (rendimiento volumétrico): Rv