La Puissance
La puissance est la quantité de travail (travail = force x déplacement) fournie en une seconde. En hydraulique, la puissance se mesure en kilowatts.
-
Quelle est la puissance consommée par la pompe ?
La puissance dépend du débit (Fig. 22).

Moteur 1 < Moteur 2
Pompe 1 < Pompe 2
Débit 1 < Débit 2
Pression 1 = Pression 2
La puissance dépend de la pression (Fig. 23).

Moteur 1 < Moteur 2
Pompe 1 = Pompe 2
Débit 1 < Débit 2
Pression 1 < Pression 2
Puissance 1 < Puissance 2
Application
-
Quelle est la puissance hydraulique nécessaire pour obtenir le mouvement suivant ? (Fig. 24)

Vérin double effet diamètre 100
Pression = 180 bars
Course = 800 mm
Temps = 8 secondes
| Puissance (kilowatts) = Débit (l/min) x pression (bars) / 600 |
Prenons cet exemple : Débit = 47,1 l/min - Pression : 180 bar.
Puissance hydraulique pour déplacement du vérin : (P : Puissance)
P (kW) = (47,1 x 180) / 600 = 14,13 kW
La puissance du moteur thermique à installer devra être égale à la puissance nécessaire pour déplacer le vérin + 20% pour tenir compte du rendement global de la transmission.

Puissance moteur = Puissance hydraulique + 20%
Puissance hydraulique = débit x pression
| Puissance à installer (kW) = Débit (l/min) x Pression (bars) / 480* |
ET LES CHEVAUX VAPEURS ?
Puissance (kw) x 1,358** = Puissance en chevaux
** Rapport kilowatts (1 kw = 1000 watts) / chevaux (1 ch = 736 watts) > 1000 / 736 = 1,358 Quelle précision !!!
Calculons la puissance en chevaux (ch)
Puissance (ch) = Pression (bars) x Débit (l/min) / 442 (442 = 600 / 1,358)
Ne pas oublier 20% de plus pour la puissance du moteur thermique.
-
Faisons le point


Pour équilibrer la puissance hydraulique avec la puissance mécanique, il faut tenir compte des pertes.
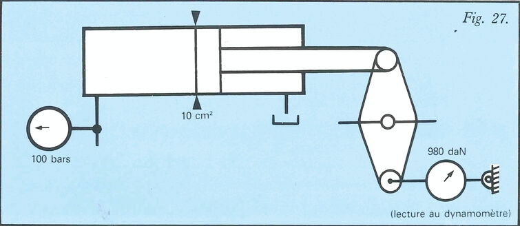
Les pertes : Ce sont tous les frottements dues aux canalisations, aux contacts cylindre-piston et à tous les organes mécaniques en mouvement, ainsi que les fuites même minimes (Fig. 26).

Frottements (rendement mécanique) : Rm (Fig. 27).

Fuites (rendement volumétrique) : Rv

